Les pompes à commande électrique de la série FR huile et FRK graisse, sont destinées à alimenter les installations de graissage centralisé monoligne à séquence progressive.
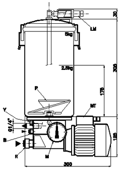
Les pompes à graisse FRK sont équipées à l'intérieur du réservoir en acier, d'un racleur-presseur P.
Les versions avec contact de niveau bas LM, ne comporte pas de racleur, celui-ci est remplacé par un piston suiveur équipé d'une tige guide.
Le mouvement de l'arbre primaire est transmis par une roue et vis sans fin à un excentrique qui actionne les 2 pistons pompants internes au corps de pompe en acier.
La pression d'exercice maximum est de 120 bars, réglable au moyen d'un clapet anti-retour V. Un manomètre M gradué de 0 à 250 bars permet un contrôle permanent de la pression. Nous conseillons pour le remplissage du réservoir des pompes FRK, l'utilisation d'un raccord spécial R, livré en option.
Demandes de devis pour Pompe à moteur pour graissage centralisé
03/11/2024
j"ai besoin d"une pompe à graissage centralisée. P = 180w. Pour injecter de la graisse en continu avec des débit très faibles, sur le palier d"une turbine. Merci de m"envoyer la fiche technique et une proposition financière de votre produit