Les pompes à commande électrique de la série FR huile et FRK graisse, sont destinées à alimenter les installations de graissage centralisé monoligne à séquence progressive.
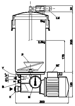
Les pompes à graisse FRK sont équipées à l'intérieur du réservoir en acier, d'un racleur-presseur P.
Les versions avec contact de niveau bas LM, ne comporte pas de racleur, celui-ci est remplacé par un piston suiveur équipé d'une tige guide.
Le mouvement de l'arbre primaire est transmis par une roue et vis sans fin à un excentrique qui actionne les 2 pistons pompants internes au corps de pompe en acier.
La pression d'exercice maximum est de 120 bars, réglable au moyen d'un clapet anti-retour V. Un manomètre M gradué de 0 à 250 bars permet un contrôle permanent de la pression. Nous conseillons pour le remplissage du réservoir des pompes FRK, l'utilisation d'un raccord spécial R, livré en option.