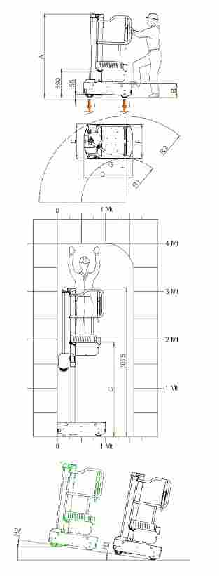
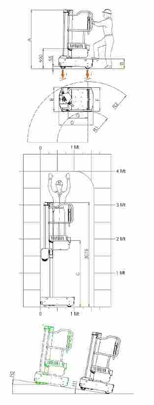
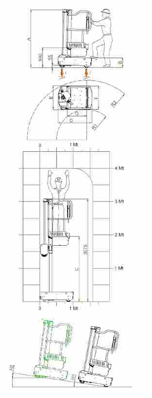
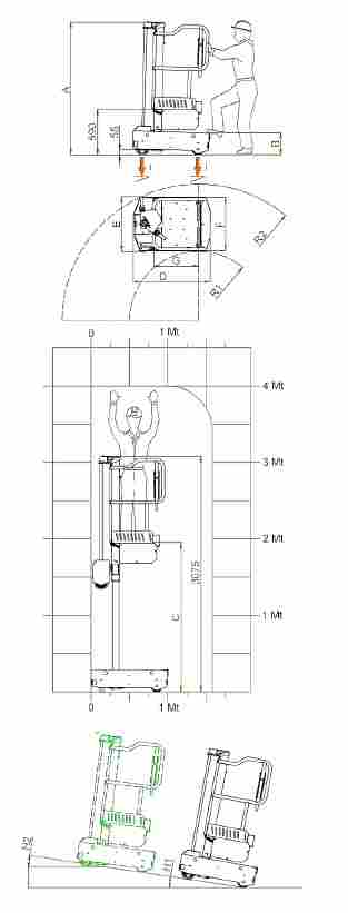
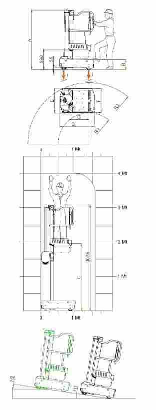
La nacelle élévatrice avec guidon confortable est un équipement conçu pour optimiser les interventions en hauteur, notamment dans les domaines de la maintenance et de la réparation.
Sa conception ultra-compacte et sa maniabilité en font un outil adapté aux environnements intérieurs et aux espaces restreints.
Grâce à sa conception, cette nacelle permet de réduire les temps d'intervention tout en améliorant le niveau de sécurité pour l'opérateur.
Elle est équipée de dispositifs de sûreté standard, tels qu'une serrure de porte pour éviter l'ouverture accidentelle du panier et un guidon avec dispositif de sécurité pour prévenir les activations involontaires.
Le timon de contrôle facilite les manœuvres, permettant de déplacer la nacelle aisément d'une zone à une autre, même dans des espaces confinés.
Dispositifs de sûreté standard :
- Dispositifs de sûreté standard
- Serrure de porte : elle évite l'ouverture accidentelle du panier
- Guidon avec dispositif de sécurité : il évite l'activation accidentelle
- Frein de stationnement électronique et automatique
- Signal lumineux de mouvement
- Systèmes de contrôle lumineux
- Signal lumineux de mouvement
- Systèmes de contrôle intégré
- Descente d'urgence
Prestations
- Alimentation : 24 V
- Batteries : 2 AGM 12V 45 Ah
- Chargeur de batterie : 115V–230V 50/60HZ
- H1 Pente maximale : 15%
-
- - -
- Vitesse maximale (Descente) : 0,15 m/s
- Vitesse de déplacement : 5 km/h
- Poinçonnement au sol par roue : 1,6 kN
- Températures de fonctionnement : de - 15 ° à + 40 ° C"
Equipement de série :
- Contrôle de la portée maximale au moyen d’une soupape de sûreté
- Avertisseur lumineux des mouvements
- Frein de stationnement automatique électronique
- Klaxon
- Portes d’accès nacelle à 2 battants avec contrôle de la fermeture
- Manette avec détente de sécurité contre l’activation involontaire
- Roues motrices protégées IP65
- Descente d’urgence de la nacelle à la base avec activation manuelle
- Actionnement à deux mains