Cet enrouleur pour distribution de graisse ou d'huile est très solide et résistant à la corrosion, il est fabriqué en pièces métalliques traitées anticorrosion.
Doté d'un système de ressort de rappel qui assure l'enroulement du tuyau sans effort, il permet confort et sécurité lors de son utilisation (ISO 12100 / EN 13857).
Conçu en acier avec revêtement epoxy et doté d'un cliquet d'arrêt pour bloquer le tuyau à la longueur nécessaire au besoin.
Caractéristiques générales :
- Carter en acier avec revêtement epoxy
- Tuyau en caoutchouc
- 3 Longueurs de tuyaux : 10 - 15 et 20 mètres
- Pression maximum d'utilisation : 60 bar
- Températures tolérées : - 10°C / 40°C
- Blocage du tuyau par cliquet d'arrêt
- Ressort de rappel pour un enroulement sans effort
- Butée de fin de course réglable (sert à définir la longueur de tuyau souhaitée à laisser à l'extérieur du carter)
- Raccord tournant sur tambour
- Support fixe (support orientable en option)
- Norme : EN ISO 12100
- Conforme 13857 (sécurité des machines)
- ISO 12100 : Sécurité des machines (appréciation et réduction des risques) - EN 13857 : Sécurité des machines (distance de sécurité empêchant les membres inférieurs et supérieurs d'atteindre les zones dangereuses)
Modèle disponible en 3 versions :
Enrouleur avec tuyau de 10 mètres
- Diamètre tuyau intérieur/extérieur : 13 X 19 mm
- Entrée tournante : G 1/2 mâle
- Sortie (Gaz BSP) : G 1/2 mâle
- Poids : 18 kg
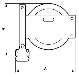
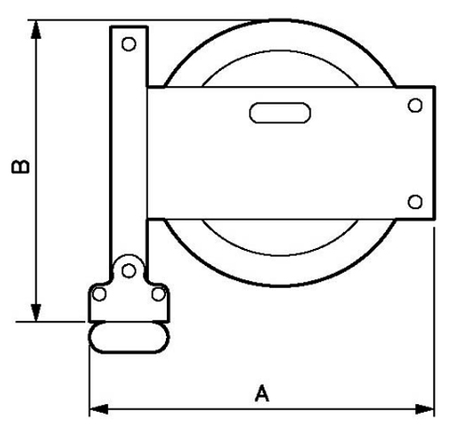
- Dimensions carter (A x B x C) : 47.8 x 47.5 x 23.7 cm
Enrouleur avec tuyau de 15 mètres
- Diamètre tuyau intérieur/extérieur : 13 x 19 mm
- Entrée tournante : G 1/2 mâle
- Sortie (Gaz BSP) : G 1/2 mâle
- Poids : 23 kg
- Dimensions carter (A x B x C) : 47.8 x 47.5 x 23.7 cm
Enrouleur avec tuyau de 20 mètres
- Diamètre tuyau intérieur/extérieur : 13 x 19 mm
- Entrée tournante : G 1/2 mâle
- Sortie (Gaz BSP) : G 1/2 mâle
- Poids : 26.5 kg
- Dimensions carter (A x B x C) : 48.5 x 48 x 23.7 cm